凯发pa旗舰厅官网的服务支持
资讯详情
如何在设备端限制内网终端禁止上网
发布时间:2024-09-02
在企业或家庭网络中,有时候我们需要对特定的内网终端进行上网限制,以确保网络安全或合理分配网络资源.比如禁止家里的小孩随意的玩耍手机,pad等,飞鱼星路由器提供了灵活的网络管理功能,可以轻松实现这一需求。
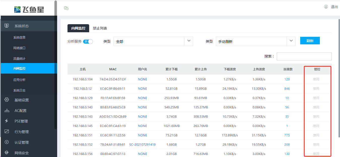
方法一:内网监控---管控
登录设备,进入系统状态--内网监控中进行直接管控,此方法为知晓受控终端的mac或者是名称。如下图示:
“用户名”可自定义自己想看的,基于固定mac进行调整,如终端采用随机mac或者是隐私mac连入,那看到的mac和ip就可能会发生变化。

点击管控中的“禁用”之后,字体会变为红色展示:

此时被控的终端显示有地址获取到了的,但是ping不通网关、dns,设备界面,终端的应用程序会提示网络不可用。

此时是基于终端ip的形式的控制,要解除可以在内网监控---禁止列表中删除,只能同时删除全部。

此功能可针对内网在线用户进行按需管控,比如某些人疯狂下载,疯狂上传等。
方法二:mac地址过滤
进入mac地址过滤选项设置:登录路由器管理界面后,导航至“网络安全”菜单下的“mac地址过滤”选项。
添加mac地址:点击“ ”按钮,在“地址”栏中输入需要禁止上网的终端的mac地址。注意,mac地址应准确无误(终端可能存在设备mac或者随机mac、隐私mac)。格式是以xx:xx:xx:xx:xx的形式输入。

保存并应用:设置完成后,点击“保存”,使规则进入列表。
功能开关开启后,可选择黑名单或者是白名单。
- 如果选为黑名单,则在规则列表中的mac的终端可以拿到地址,但无法ping通dns,无法上互联网,无法ping通内网网关和内网访问。
- 如果选为白名单,则仅允许规则列表中的mac的终端可以上互联网,其他的终端全部拦截。
此功能可以针对固定人群的场景中开放,比如只允许父母、长辈、自己的终端接入网络(注意固定终端mac),加入白名单后,其他的就算知晓密码连接了,也无法上外网。

方法三:ip/mac地址绑定
扫描内网设备:在“网络安全”菜单下找到“ip/mac地址绑定”选项,点击动态列表中的“扫描”按钮,获取当前内网中设备的ip和mac地址列表。
绑定地址:从列表中选择需要允许上网的设备,点击“绑定”或“绑定所有ip/mamc”按钮。对于需要禁止上网的设备,则不进行绑定。

设置禁止规则:在绑定列表下方,勾选“禁止未被ip/mac地址绑定的主机通过”选项,然后点击“保存”按钮。此时,在绑定列表中的设备才赋予上网权限,其他未绑定的终端全部没有上网权限。
注意此功能必须是针对固定终端做完地址分配全部一一对应的时候才可以操作,否则会引起无法正常上网或无法登录设备。(附:如何做ip/mac绑定)
方法四:基于ip地址的防火墙设置(可基于时间组选择限制)
1、进入防火墙设置:在路由器管理界面的行为管理--“防火墙设置”菜单
2、添加规则:点击“ ”或“添加”按钮,创建一个新的防火墙规则。在规则中,设置“动作”为“禁止”,“协议”为“任意”,“接口”为“任意”,“源地址”为需要禁止上网的终端的ip地址或ip地址组。
3、设置完成后,点击“保存”按钮,使配置生效。

此功能可以搭配dhcp的静态分配(如何做dhcp静态分配),让终端的mac对应设定的ip。然后基于ip地址和时间组可以做对应的限制或者允许的规则。适用于家长对孩子的管控比较常见。
注意事项:
1、准确获取mac地址和ip地址:在配置过程中,务必确保输入的mac地址和ip地址准确无误,否则可能导致配置失败或误拦截合法设备。
2、定期更新:如果内网设备有变动(如更换设备、更改ip地址等),需要及时更新路由器的配置信息。
3、备份配置:在进行重大配置更改前,建议备份当前配置信息,以便在出现问题时能够快速恢复。